2025年12月02日
UWB2025年12月02日
英伟达2025年12月02日
汽车销量2025年12月02日
新能源汽车2025年12月02日
AVEVA2025年12月02日
史陶比尔
2025年12月02日
API
2025年12月01日
施迈茨
2025年11月28日
配天机器人
2025年11月28日
研华
2025年12月02日
电装
2025年12月02日
电装
2025年12月01日
倍加福
2025年12月01日
Festo
自动驾驶送货机器人的速度还是不够快,特别是随着Covid-19疫情得到了缓解,很多人已经习惯包裹可以在数小时,而不是几天或者几周内到达。对于汽车行业的人而言,可能就是在等待本应上周就到的替换零部件。不过。据外媒报道,本田对于自动驾驶送货车有一个计划,虽然此类汽车看起来像小盒子,而不是福特或沃尔玛的自动驾驶送货车。

据外媒报道,本田在美国和日本都申请了该项名为“使用自动驾驶移动设备运送行李的无人送货系统”,可以在该自动驾驶移动设备的侧面收入或取出行李,对于用户而言,非常方便。
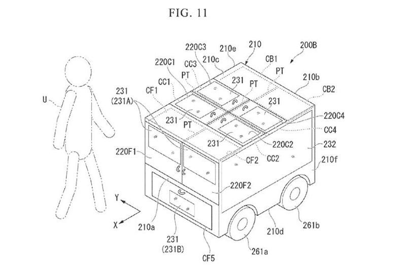
从专利图可知,此类自动驾驶设备看起来像没有在车顶安装雨伞的卖热狗车,其配备了几个大门以及隔间,还有很多小门和货舱。可以猜得到,此类门和隔间都是可以上锁的,只有获得授权的用户才能打开,否则有些年轻的小流氓会一次性将所有包裹拿走。

此外,该专利还展示了该款移动自动驾驶送货车的显示屏部分。该显示屏可以是液晶的,也可以是电致发光显示屏,会在车门上展示包裹运送
状态。可以猜想,该车会高亮车门或者地址,让接收人知道该打开哪个箱子。不过,此类显示屏也可以用于展示广告。最后,该专利图还显示,可以将该车锁定在一个合适的地方,看起来有点像一个轮胎楔子,不过专利申请文件表示,其可能只是一个刹车,猜想是为了在接收人取包裹时,让车辆保持静止状态,或者是防止其从山上滚下来。

当然,该车没有足够的空间供驾驶员使用,而且车架很小,也无法安置驾驶员。此外,该自动驾驶车也无需大型电机或一堆电池就可以运行。不过还有一个问题,虽然该车可以防止包裹被偷,但是需要收件人在车开来时,在家中,以便随时取走包裹,这对于该车的广泛采用可能是一个额外的障碍。