2025年12月02日
UWB2025年12月02日
英伟达2025年12月02日
汽车销量2025年12月02日
新能源汽车2025年12月02日
AVEVA2025年12月02日
史陶比尔
2025年12月02日
API
2025年12月01日
施迈茨
2025年11月28日
配天机器人
2025年11月28日
研华
2025年12月02日
电装
2025年12月02日
电装
2025年12月01日
倍加福
2025年12月01日
Festo
到了90年代初,人们终于感受到现代电子技术广泛地应用于汽车发动机控制及其它部分的控制所带来显著的经济效益和社会效益。随着像微电脑这类电于产品的不断更新,极大地促进了汽车电子控制技术的发展。这些电子产品的可靠性不断提高,制造成本不断降低,用于汽车的电子产品尺寸不断减小。当前的汽车电子控制技术可分为四大类(见图1.2),即动力牵引系统控制,车辆行驶姿态控制,车身(车辆内部)控制和信息传送。

图 1 .2 汽车电子控制技术分类
1 .2 .1 动力牵引系统控制
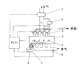
所谓动力牵引系统是用来产生驱动汽车的原动力,并把这一动力转换成可直接驱动车轮的扭矩。动力牵引系统控制包括发动机控制和传输系统控制。发动机控制系统一般分为燃油喷射控制、点火时间控制、怠速运转控制、发动机爆燃控制和其它相应的控制。对于汽油机的电子控制系统具有诸如燃油喷射控制、点火时间控制、怠速运转控制和故障诊断等功能。通过这些功能的执行可使汽油机处于最佳的工作状态。汽油机控制的典型系统如图1.3 所示,图中所示的汽油机控制系统是采用多点喷射(MPI)的燃油喷射控制方法。即在汽油机的各气缸进气支管中安装燃油喷射器,通过对各燃油喷射器的控制来控制喷入各气缸的油量。当前在工业发达国家几乎所有新出厂的轿车都无一例外地采用了电子燃油喷射(EFI )技术。

对于柴油机而言,为了减少其排烟,降低噪声和振动,柴油机的电子控制主要集中在燃油喷射量、燃油喷射时间、进气节流和电热塞的电流控制方面。图1.4显示了柴油机的控制系统,图中的喷油泵控制系统已由原来的机械控制变为电子控制,但柴油机喷油泵的基本控制机构仍是机械式的,这与采用电子燃油喷射的汽油机有明显的差别。在90年代初,许多国家,特别是美国,制定了控制柴油机过量微粒的排放法规。由于在不远的将来会对车用柴油机提出更为严格的全排放控制要求,这就完全有可能促进柴油机全电子控制的研究及相应的产品开发。

包括电子变速控制在内的电子动力传输控制,基本上是直接控制汽车车轮的传动。它通过对油门位置和车速的检测,由微电脑控制变速器使其达到最佳的汽车行驶扭矩,并锁闭该运行点和液力离合器的液压。在齿轮变速和离合器锁闭期间,将所要求的信号送至发动机电子控制单元(ECU),有些系统通过控制发动机的转速来减轻对变速器换档时的冲击。图 1 .5 显示了汽车传动系统的控制,与机械传动系统比较,由于采用电子控制系统可使动力传送的精度提高,变速器的设计更加随意,控制机构更加简单,并能改善汽车的燃油经济性和驾驶性。所以电子传动控制系统的性能非常令人满意。目前一种将发动机电子控制单元和传动系统电子控制单元合二为一的控制系统即动力牵引控制系统已在日本、美国和欧洲生产的汽车中使用。

1 —锁止离合电磁阀;
2 —锁止离合器;
3 —变扭器;
4 —超速档机构;
5 —变速器输入转速传感器;
6 —变速齿轮及片式离合器组件;
7 —输出轴;
8 —车速传感器;
9 —换档电磁阀;
10 —液压回路;
11 —蓄压器泄压阀
图 1 .5 汽车传动系统控
1 .2 .2 车辆行驶姿态控制
车辆行驶姿态控制系统可以看作这样一种电子控制系统,即采用电子技术来控制车辆运行中的三种基本的运行特征:行驶、转弯和停车。采用电子技术给车辆行驶姿态控制系统带来了相当大的改进,尤其是在汽车驾驶灵敏性、行驶稳定性及司乘人员的舒适性等方面更为突出。车辆行驶姿态控制系统可分为:悬挂系统控制、驾驶系统控制、防锁死刹车系统控制(ABS)、行驶控制、轮胎/地面附着力(防滑)控制和四轮转向系统控制。
悬挂系统控制是用来改变车身的高低和缓冲弹簧的弹力,并根据车辆的载荷及路面条件改变吸收冲击力的缓冲弹簧阻尼力的大小。
控制车身高度的目的是在于车辆的载荷无论怎样变化,通过该控制系统均能使车身和地面之间始终保持设定的距离,或者汽车在高速行驶过程中,通过降低车身高度来减少空气的气动阻力并增强汽车在高速行驶时的稳定性。像雪铁龙一类的轿车采用人工控制车身高度已有一段历史了。在悬挂系统的电子控制系统中,电子控制单元(ECU)接收来自车身高度传感器、车速传感器等各种传感器发送来的信号。经处理后,ECU发出反馈信号给改变车身高度的执行器,使车身高度达到一最佳值。
悬挂系统的弹簧力控制和吸收冲击阻尼力的控制是用来提高车辆行驶时的操纵性能,使得车辆在急转弯、突然加速和紧急刹车时,尽可能少地改变车辆的行驶姿态。对于汽车的悬挂系统而言,一方面要求有较为柔性的悬挂系统以达到较为舒适的乘坐环境。而另一方面却与之截然相反,为了提高汽车的可操纵性能,就要求有较为刚性的悬挂系统。图 1 .6 显示了悬挂系统中的吸收冲击阻尼力控制系统。

1 —转向传感器;
2 —停车灯开关;
3 —车速指示;
4 —悬挂系统执行器(后);
5 —悬挂系统电子控制单元;
6 —模式选择开关;
7 —空档启动开关;
8 —节气门位置传感器;
9 —悬挂系统执行器(前)
图 1 .6 减震器阻尼力控制系统
驾驶系统控制包括用于操纵动力转向系统转向力的电子控制。所谓转向力的控制是指当车辆停止或低速行驶时减小转动方向盘的力,而当车辆高速行驶时增加转动方向盘的力,以使车辆驾驶保持平稳。该系统还允许司机去选择对他们最适宜的方向盘操纵特性。在80年代,日本的许多汽车制造厂家已开始在所生产的轿车中引进了电子转向控制系统。
防锁死刹车控制系统(ABS)是用来防止汽车在刹车时车轮不被锁死。采用此控制系统可提高汽车驾驶的稳定性。判断汽车在刹车时车轮是否被锁死,是通过对车速和轮速的比较来作出的。但实际上在对实际车速的检测中,由于车轮与地面之间的滑动及其它因素所产生的问题,一般对车速的测定仍是通过对车轮转速的检测来大约估算的。
在汽车电子控制技术发展进程中,防锁死刹车控制系统的应用较其它电子控制技术在汽车中的应用相对较早些。自从美国福特汽车制造公司于1968年在汽车中首先采用该控制系统起到目前,已在日本、美国及欧洲等国汽车制造业中得到普及。最初设计的ABS系统作用于汽车的后轮,以保证汽车在刹车过程中能平稳行驶。目前采用微电脑的四轮防锁死刹车控制系统应用得更多些,这样不仅能防止汽车在刹车过程中后轮被锁死,而且还能防止用于转向的前轮也不被锁死,从而使汽车行驶方向的稳定性得以增强,并且还能提高汽车的可操纵性。
恒定车速控制(又称为自动巡航控制)是通过控制节气门位置来保持预先设定的车速,而司机不需脚踩加速踏板。该控制系统是根据车速传感器、定速控制开关及定速取消开关的信号,通过进气管的负压压力或一台小电机来调节节气门挡板的。
防滑控制是用来防止汽车在起步和加速时驱动轮打滑。判断车轮是否打滑是通过对车速和轮速的比较来完成。通过对驱动轮的制动及降低发动机的输出功率,使轮胎和路面的滑移率处于一个最佳的值。这样可使汽车在起步或加速时的驾驶性和稳定性处于最佳的状态。
四轮转向(4WS)控制是由安装在后悬挂器处,用于操纵后轮的后轮转向机构及前轮转向机构所组成,这样前后四个车轮均能进行转向操纵。采用该控制系统的目的是为了提高汽车在低速时的转向性能及在高速行驶时的转向能力。
1 .2 .3 车身(车辆内部系统)控制
设计车身控制(又称车辆内部系统控制)的目的是为司乘人员提供更为舒适、更为便利及更为安全的环境,并能够提高整车的市场竞争力。车身控制系统包括如下的电子控制:车用空调控制,数字化仪表显示,挡风玻璃的雨刷控制,车灯控制,车后障碍检测,安全保护系统,多路通讯系统,门锁控制,电动车窗控制,电动坐椅控制,安全带控制及空气袋控制等。
汽车空调控制系统用来控制车厢内的温度,使车内温度保持在一设定的舒适温度范围内。该系统控制车内空气温度、空气出口流量、风扇速度、吸人空气或排出空气及空调压缩机的运行等。
多路通讯系统是采用一条通讯线路来传送多路信号,这样可大大减少线路、线路包覆物及整个通讯系统的重量。并能做到采用同类的传感器在各系统之间进行数据传送,以便对汽车进行精确的控制。常用的通讯线为光导纤维及扭花双线电缆。
常用的汽车门锁锁定系统是当车速超过预先设定的车速时,该机构动作,锁上车门。一种新颖的遥控门锁系统是用一台微型遥控器在车外锁上或打开汽车门锁。目前这种新颖的遥控门锁装置在市面上有售。
设计空气袋的目的是用来当发生撞车时,在司乘人员的前面快速吹出一个空气袋来保护司乘人员。空气袋一般装在方向盘中或其它适当的地方,一旦发生撞车事故,用氮气或其它气体在极短的时间内将气袋吹开。
由于以上这些控制系统给汽车制造业带来十分明显的效益,因此目前在高、中档轿车中已广泛采用。